Obnova oceľovej konštrukcie halového objektu
Vplyvy chemickej výroby na nosnú oceľovú konštrukciu sa podarilo zdokumentovať v rokoch 1998 a 2012 pri podrobnej prehliadke. Nosná oceľová konštrukcia halového objektu, ktorý je súčasťou chemickej továrne, sa realizovala v roku 1975 a objekt v pôvodnom stave s primeranou údžbou a s niektorými opravami slúži doteraz na pôvodný účel. V hale sa nachádza technológia na výrobu dusíkatých hnojív, konkrétne liadku amónneho s dolomitom (LAD).
![]() |
Poznáte výhody Klubu ASB? Stačí bezplatná registrácia a získate sektorové analýzy slovenského stavebníctva s rebríčkami firiem ⟶ |
Čo tvorí nosnú konštrukciu?
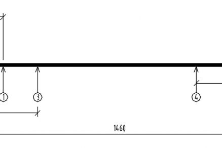
Nosnú oceľovú konštrukciu tvoria priečne nosné plnostenné oceľové rámy, ktoré sú v osových vzdialenostiach 6,0 m. Rozpätie rámov je 19,5 m, výška je približne 28,86 m. Spolu je to osem priečnych plnostenných rámov, teda sedem polí (obr. 1 a 2).
Obr. 1 Schéma priečneho nosného rámu
Obr. 2 Pôdorys nosnej konštrukcie
Stĺpy nosných rámov
Základný pozdĺžny pôdorysný rozmer haly je 42 m, zväčšuje sa štítovými priečnymi stenami. Stĺpy nosných rámov S1 až S8 a J1 až J8 sú zakotvené do základových pätiek pomocou dvoch dvojíc kotevných skrutiek M48 × 3 s dĺžkou 1 700 mm. Spodná hrana kotevných skrutiek je na úrovni –1,740 m. Rámové stĺpy aj prievlaky plnostenných rámov sú zo zváraného I-profilu s výškou 1 500 mm, pásnice sú hrubé 20 mm a široké 400 mm, stena má hrúbku 12 mm a výšku 1 460 mm. Na východnej a západnej strane haly s prevádzkou na výrobu LAD sa v osiach radov 1´a 8´ nachádzajú štítové steny. Osová vzdialenosť stĺpov štítových stien je 1 200 mm od radu 1 a 8. Štítové steny sú vytvorené zváranými stĺpmi s prierezom I s výškou 660 a 720 mm. Osová vzdialenosť stĺpov, ktoré sú v radoch A, B, C a D je 6 000 mm. Stuženie štítových stien je medzi radami B a C. Stĺpy štítových stien sú zakotvené do základových konštrukcií pomocou dvojice kotevných skrutiek M30 s dĺžkou 700 mm.
Stuženie haly
Pozdĺžne stuženie celej haly je zabezpečené zvislým stužením medzi stĺpmi J4 – J5, J5 – J6 a S5 – S6, S6 –S7. Priečne vetrové stuženie v rovine strechy sa nachádza medzi väzbami 5 a 6. Všetky prvky nosnej oceľovej konštrukcie sú z ocele konštrukčnej triedy S235.
Nosná konštrukcia strechy
Nosná konštrukcia strechy haly bola pôvodne vytvorená siporexovými panelmi s rozmermi 6000/600/250 mm. Strecha je konštrukčne plochá so 4 % spádom od stredu objektu v priečnom smere. V miestach technologických priestupov – kruhových otvorov v streche – je strešná konštrukcia vytvorená oceľovými nosníkmi, tvarovaným plechom a penobetónom. Podobná konštrukcia je aj po obvode objektu, v pozdĺžnom smere na šírke približne 900 mm a v priečnom smere na šírke približne 1 600 mm. Na siporexových paneloch bol cementový poter s hrúbkou 20 mm a hydroizolácia.
Medzi radmi B a C a v poliach 1 až 7 sa nachádza nosná konštrukcia oceľového svetlíka. V roku 2000 sa vypracoval projekt rekonštrukcie strechy nad prevádzkou na výrobu LAD. Na základe tohto projektu sa odstránila porušená pôvodná konštrukcia stropnej dosky zo siporexových panelov. V súčasnosti je nosná konštrukcia strechy vytvorená z plechovobetónovej stropnej dosky. Spolupôsobenie trapézových oceľových plechov so železobetónovou stropnou doskou nie je zabezpečené (plechy tvoria len stratené debnenie). Podpernú konštrukciu plechovobetónovej stropnej dosky tvoria valcované oceľové profily IPN 180 uložené kolmo na rámové prievlaky. Vzájomné osové vzdialenosti nosníkov sú prevažne 1 600 mm. Kolmo na nosníky sú uložené oceľové pozinkované trapézové plechy VSŽ 10 011. Plechy sú uchytené o príruby nosníkov IPN 180 nastrelenými kotevnými klincami HILTI v rozpätí 1 000 mm. Plechy sú v pozdĺžnom smere stykované presahom, a to len v miestach priečnych nosníkov IPN 180.
Dĺžka presahu je 600 mm. V priečnom smere sú plechy stykované preložením jedného rebra, čo predstavuje presah 100 mm. Nosníky IPN 180 sú natreté protikoróznym náterom. Na trapézových plechoch VSŽ 10 011, ktoré tvoria stratené debnenie, je jednosmerne vystužená železobetónová stropná doska z betónu triedy B20 s hrúbkou 60 mm (hrúbka je uvedená od úrovne horného rebra plechu VSŽ). Stropná doska je vystužená zváranými sieťami s rebrovaným povrchom (Sz) – 5 × 4,2 mm – 100/250 mm. Hlavný nosný smer vystuženia železobetónovej dosky je kolmý na smer podperných nosníkov IPN 180, teda rovnobežný s rebrami plechu VSŽ. Zvárané výstužné siete sú v hlavnom smere stykované presahom v jednej rovine. Dĺžka presahu sietí v hlavnom smere je 800 mm. Siete sú stykované len v miestach podpôr, teda len v miestach priečnych nosníkov IPN 180. Vo vedľajšom smere sú siete stykované preložením s presahom 300 mm.
Obr. 3 Trhlina v priečnej výstuhe stĺpa D8´
Konštrukcia technologických plošín
Dve najdôležitejšie technologické plošiny sú na úrovni +10,20 m a +13,50 m. Obidve tieto plošiny sú navrhnuté ako oceľové trámové konštrukcie so železobetónovou stropnou doskou, ktorá sa vybetónovala do plechového debnenia vytvoreného z profilovaných VSŽ plechov. Nosná konštrukcia týchto plošín sa mala pôvodne vytvoriť z plnostenných zváraných prievlakov s výškou 1 000 mm a s pásnicami so šírkou 400 mm (hrúbky pásnic a stien sú odstupňované v závislosti od veľkosti zaťaženia). Prievlaky sú v osiach hlavných nosných rámov. V rámci zmien počas spracovania projektu sa výška prievlakov v časti plošiny +13,50 m znížila z 1 000 mm na 600 mm. V miestach technologických priestupov a otvorov sú použité výmeny s rovnakou výškou a šírkou pásnic ako pri hlavných prievlakoch. Prievlaky sú väčšinou pripojené k hlavným stĺpom haly pomocou štyroch skrutiek M24. V osi haly radu B´ sú prievlaky plošín podopreté samostatnými zváranými stĺpmi s prierezom I s celkovou výškou 300 mm a s pásnicami s rozmermi 300 × 20, stena má rozmer 260 × 12. Tieto stĺpy sú stykované na kóte +10,2 m.
Stropné trámy (valcované I-nosníky) – rovnobežné s pozdĺžnou osou haly – sú pripojené k prievlakom montážnymi zvarmi, sú uložené na pozdĺžnych výstuhách stien prievlaku a podopreté zvislou výstuhou pod príslušnou stropnicou. Celý pôdorys obidvoch plošín (okrem technologických priestupov a otvorov) je zakrytý profilovaným oceľovým plechom VSŽ s výškou vlny 30 mm, ktorý je bodovo privarený k stropným trámom. Na plechu je vybetónovaná železobetónová doska s hrúbkou 160 mm a vrstva cementového poteru s hrúbkou 50 mm. Ďalšie menšie plošiny sú na úrovniach: +17,20, +16,00, +15,90, +15,00, +13,90, +21,20, +22,34, +20,30, +19,60, +19,00, +24,65, +23,23, +23,32 m. Na prízemí haly sú umiestnené základy sušiaceho bubna a bubnového chladiča.
Navrhované opatrenia
|
Ako sa zisťoval súčasný stav oceľovej konštrukcie?
Na zistenie súčasného stavu nosných oceľových konštrukcií sa realizovalo niekoľko podrobných prehliadok. Prvá prehliadka objektu sa realizovala v roku 1998 a druhá v roku 2012. V roku 2012 sa zároveň vyhotovil aj statický výpočet nosných oceľových konštrukcií haly s prevádzkou na výrobu LAD. Statický výpočet sa realizoval podľa v súčasnosti platných technických noriem (STN EN). Na základe záverov prehliadky z roku 1998 sa navrhli určité opravy a úpravy nosných oceľových konštrukcií. V roku 2000 sa vypracoval už uvedený projekt rekonštrukcie strechy.
Čo ukázala prehliadka prvkov plošiny na úrovni +13,50 m?
V pripojení prievlaku na stĺp J8 boli pôvodne odtrhnuté všetky štyri skrutky M24. Skrutky sa doplnili a v súčasnosti existujú. Medzi čelnou doskou prievlaku a pásnicou stĺpa ostala medzera so šírkou približne 15 až 20 mm. V mieste pripojenia nosníka na stĺp D8´ sa nachádza trhlina v priečnej výstuhe stĺpa (obr. 3). V pripojení prievlakov na stĺp S6 sa zvarila dlhá zvislá trhlina v stene stĺpa S6. V pripojení prievlaku na stĺp S5 je zvarená staršia trhlina. Vedľa zvaru však vznikajú nové trhliny (obr. 4 a 5). V mieste pripojenia prievlaku na stĺp S5 sú odtrhnuté skrutky M24. V pripojení prievlakov k stĺpa J6 je odtrhnutá skrutka (spodná) a spodná pásnica prievlaku je skorodovaná (obr. 6). Skrutky boli odtrhnuté aj v mieste pripojenia prievlaku na stĺp J7. V stĺpe J5 pod pripojením prievlaku sa nachádza trhlina v stene stĺpa vedľa zvaru zavarenej trhliny. Na úrovni plošiny +13,50 m v mieste styku plošiny so stĺpmi nosných plnostenných priečnych rámov bola zistená najväčšia korózia – hlavne stien stĺpov. V súčasnosti je možné pozorovať veľkú koróziu v stene stĺpa S8 zo strany S7 (obr. 7 a 8).
Obr. 4 Zvarené a nové trhliny v stene stĺpa S5
Obr. 5 Trhliny v stene stĺpa S5
Čo sa zistilo pri prehliadke prvkov zvislých stužovadiel stien?
V pripojení diagonály zvislého stuženia medzi stĺpmi J5 a J6 chýbajú skrutky. Pripojenie diagonály na stĺp J6 je tiež bez skrutiek, je však zabezpečené zvarmi. V pripojení diagonál vo zvislom stužení medzi stĺpmi S5 a S6 sú dve pripojenia na stĺp S6 bez skrutiek a jedno pripojenie na stĺp S5 tiež bez skrutiek.
Obr. 6 Odtrhnutá skrutka v pripojení prievlaku na stĺp J6
Ďalšie poruchy nosných oceľových konštrukcií
V obvodovej stene medzi stĺpmi J2 a J3 je vo výške približne +18,0 m deformovaný priečnik. V rámovom rohu stĺpa S5 je deformovaná oceľová výstuha a vyduté sú aj niektoré zvislé výstuhy rámových priečlí.
Korózia zváraného stĺpa S8
Na úrovni podlahy plošiny +13,5 m v styku stĺpa S8 s plošinou je stena I-prierezu stĺpa S8 výrazne skorodovaná. Preto sa v mieste korózie vykonali merania hrúbok steny (obr. 7 až 9). Meraním sa získali hodnoty uvedené v tabuľke. Stena je na dĺžke 300 mm oslabená koróziou tak, že má hrúbku 6,0 mm, pričom pôvodne mala 12 mm.
Obr. 7 Meranie hrúbok steny stĺpa S8
Obr. 8 Korózia a meracie miesta na stene stĺpa S8
Obr. 9 Poloha meracích miest na stene stĺpa S8
Výrazná korózia na stĺpoch J5, J6 a S2
Rozsiahla korózia sa zistila aj na ďalších stĺpoch. Stĺp J5 sa diagnostikoval takmer po celej výške. V úseku na úrovni podlahy plošiny +13,50 m sa určili tri miesta merania. Miesto 1 na stene a 2 a 3 na pásnici.
Meraním sa zistili nasledovné hrúbky:
- miesto merania 1 – 11,65 mm,
- miesto merania 2 – 13,40 mm (veľká korózia, pôvodná hrúbka 20 mm),
- miesto merania 3 – 11,96 mm (veľká korózia, pôvodná hrúbka 20 mm).
Po celej výške sa diagnostikoval aj stĺp J6. V úseku na úrovni podlahy plošiny +10,20 m sa určili dve miesta merania.
Meraním sa zistili tieto hrúbky:
- miesto merania 1 – 6,70 mm (veľká korózia, pôvodná hrúbka 12 mm),
- miesto merania 2 – 9,70 mm (veľká korózia, pôvodná hrúbka 20 mm).
V úseku na úrovni podlahy plošiny +13,50 m (obr. 10) boli určené dve miesta merania, a to na stene stĺpa.
Meraním sa zistili takéto hrúbky:
- miesto merania 1 – 7,01 mm (veľká korózia, pôvodná hrúbka 12 mm),
- miesto merania 2 – 4,97; 4,00 mm (veľká korózia, pôvodná hrúbka 12 mm).
Na rámovom rohu (stĺp S2) sa zistila povrchová korózia prievlaku a pomerne veľká korózia trapézových plechov strešnej konštrukcie. V prípoji sekundárneho nosníka k prievlaku zo strany stĺpa S3 je odpadnutá skrutka.
Obr. 10 Stĺp J6, úsek na úrovni podlahy plošiny +13,50 m
Čo preukázala prehliadka?
Na základe vykonaných prehliadok prístupných prvkov, spojov a častí oceľovej konštrukcie objektu s prevádzkou na výrobu LAD a vykonaného statického výpočtu možno konštatovať, že v porovnaní s vykonanou hlavnou prehliadkou objektu v roku 1998 vykazovala nosná oceľová konštrukcia menej porúch. Mnohé poruchy sa odstránili, ale niektoré vznikajú opätovne. Po vykonaní hlavnej prehliadky objektu v roku 1998 sa realizovali dynamické merania a odstránili sa niektoré technologické postupy, ktoré zapríčiňovali rezonanciu časti oceľovej konštrukcie.
Literatúra
1. Gramblička, Š. – Lapos, J. – Živner, T.: Statické posúdenie nosnej oceľovej konštrukcie prevádzky LAD. Experting. Bratislava, jún 2012.
2. Gramblička, Š.: Expertízne statické posúdenie siporexových strešných panelov a základov sušiaceho bubna vo výrobni LAD. Experting. Bratislava, júl 1998.Obr
3. Gramblička, Š.: Projektová dokumentácia oceľovej konštrukcie strechy LAD – objekt 3239. Experting. Bratislava, marec 2000.
TEXT: doc. Ing. Štefan Gramblička, PhD., Ing. Tomáš Živner, PhD.
recenzoval: ing. bohumil bohunický
FOTO: autori
Článok bol uverejnený v časopise Stavebné Materiály.






















