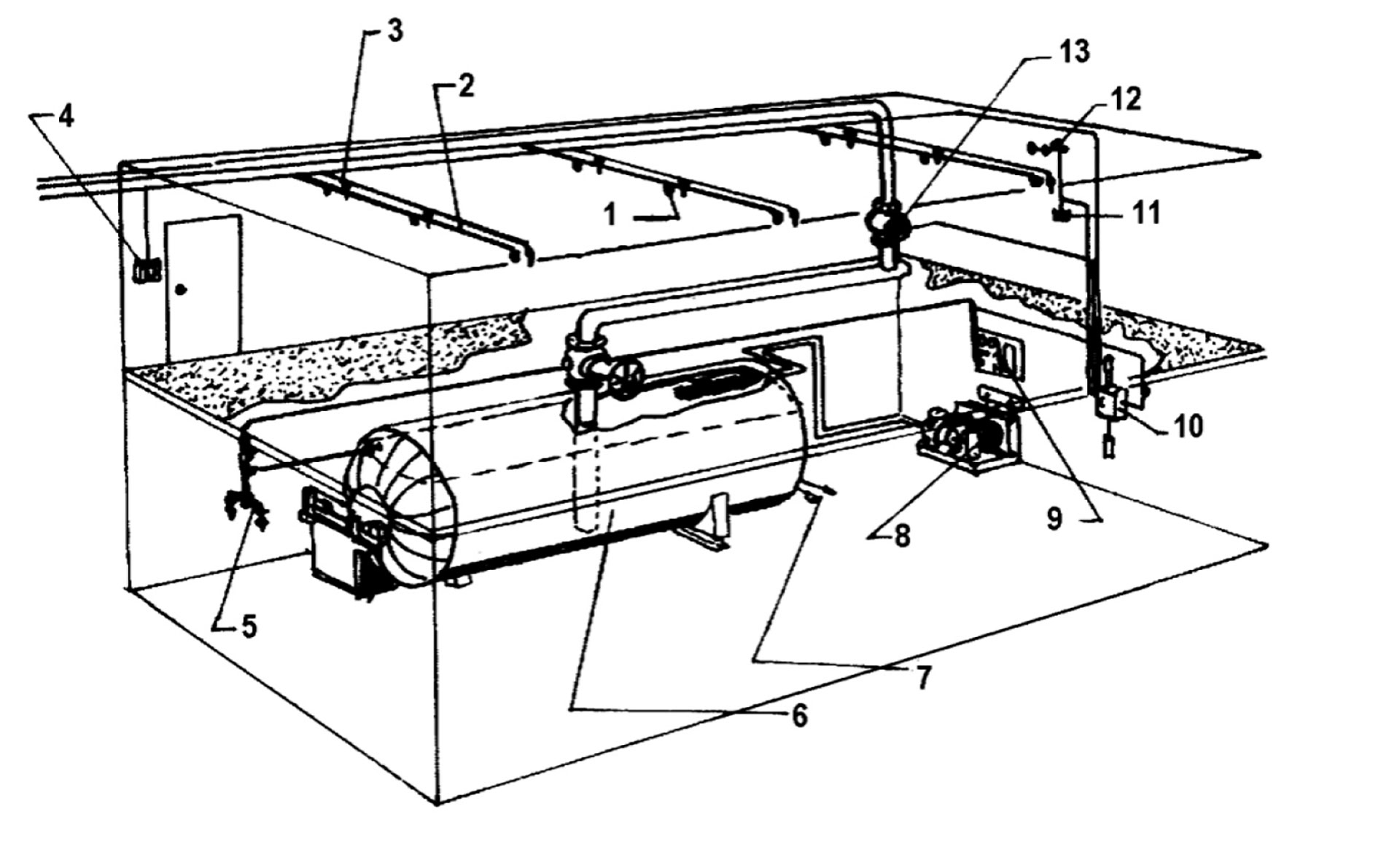
Obr. 12 Schéma nízkotlakového plynového SHZ (CO2, silno chladená nádrž) 1 – plynová dýza, 2 – rozvodné potrubie, 3 – samočinný hlásič požiaru, 4 – tlačidlový hlásič požiaru, 5 – poistná armatúra, 6 – oceľová nádrž na skvapalnený CO2, 7 – plniace a vypúšťacie potrubie, 8 – chladiaci agregát, 9 – ústredňa SHZ, 10 – časový systém, 11 – diaľková poplachová signalizácia, 12 – akustické poplachové zariadenie, 13 – sekčný ventil Zdroj: archív autorky